发布日期:2026-02-28 12:03 点击次数:50


国内最快“十角兽”月之暗面凭什么?
作家 | 张语格
2026开年,中国大模子行业传来重磅讯息:斥地仅两年多的月之暗面,最近两个多月内聚积完成超12亿好意思元的融资,估值冲破100亿好意思元,刷新国内企业晋级“十角兽”(估值超100亿好意思元)的最快记载,同期创下近一年来国内大模子行业的最高融资记载;此外,其新一轮100亿至120亿好意思元估值的融资也已开启。
从天神轮3亿好意思元估值到百亿好意思元身价,月之暗面仅用两年多收尾30多倍增长。估值增速破记载的同期,有媒体报说念,月之暗面最近20天的收入,也曾终点2025年全年。

图源:微博截图
这家年青的大模子企业,为何收入和估值同期狂飙?在巨头环伺、时刻迭代加快的 AI 赛说念,它又能否将陡然的爆发,调停为的确可握续的买卖壁垒?
01.K2.5成增长引擎?
月之暗面的主要收入着手,是API调用用度以及C端用户的付费。在20多天前,月之暗面开源了最新的K2.5大模子,月之暗面近期收入暴涨,恰是源于K2.5出色的发扬。
当作月之暗面新一代旗舰模子,K2.5在多模态融会、智能体和洽与长文本料理上收尾了要害高出:不仅全面升级图像、文档想法智力,还细腻支握视频输入与融会,让模子具备了跨模态的详细推明智力。
有从业者默示,以往念念要用Kimi克隆带动画恶果的网站还只可截图描摹,现时顺利录一段视频发送给Kimi即可,从放胆来看,K2.5物理仿真与技艺化动画生成恶果如实十分出色。
在第三方开发者社区中,有开发者对比了Kimi K2.5 和Claude Opus 4.5,后者与GPT-4o、Gemini 1.5 Pro并排为大众大模子的第一梯队,开发者选型时时时以能否达到Claude Opus水平当作参考。评测清楚,K2.5在数学、视觉编程、波折文窗口、网页交互等智力上齐胜事后者,同期还领有更低的价钱,对中小开发团队极具引诱力。

图源:APIYI
此外,K2.5还落地了自研的Agent Swarm智能体集群架构,可支握多个智能体并行和洽。举例用户念念要写一份深度拜谒呈文,下达任务后会有不同的智能体大家分步施行:搜索大家找政策文献、市集数据,分析大家料理数据,写稿大家输出呈文。“趣解买卖”防卫到,月之暗面也曾字据Kimi的智力盘算推算了不同的会员套餐,要使用Agent集群功能需要通畅199元/月或699元/月的会员。
若是不使用Agent集群,仅仅擢升K2.5的使用额度,套餐价钱分离是49元和99元每月。有报说念清楚,Kimi用户对此付费意愿十分高,尤其是国外地区,现时月之暗面的国外收入也曾反超国内。
执行上,月之暗面最近一个月付用度户暴涨并不是未必。早在K2.5开源前夜,首创东说念主杨植麟就在公司里面信上默示,国外C端买卖化在马上发展,国外和国内付用度户数平均环比增长终点170%,9-11月国外API收入增长4倍。凭借更强的性能与更亲民的价钱,K2.5开园后在国外开发者社区、科技论坛中口碑握续发酵,也曾成为OpenRouter上(大众开发者团员平台),API调用量稳居前线的中国大模子之一。
模子性能与买卖化的宽绰冲破,源于昔日一年月之暗面的政策休养。2025年头,月之暗面退出投流营销大战,礼聘All in模子智力和Agent。有媒体报说念称,决定转向All in模子智力、K2模子开源时,月之暗面算法团队险些是“抱着必死决心”在进入。
这种在时刻深度探索上的强项,时时彩app官方下载也曾握续到2026年。杨植麟默示,接下来月之暗面将愈加激进地扩增显卡,加快K3模子的考试和研发,在预考试水平上追平天下前沿模子;同期居品和买卖化上聚焦agent,不以完全用户数目为方针,握续追求智能上限,创造更大的坐褥力价值,营收范围收余数目级增长。

图源:罐头图库
不错看到,固然是初创公司,但凭借时刻与买卖化的双重底气,月之暗面也曾站到大众大模子赛场中央,2026年也将成为Kimi与国内互联网大厂、大众头部模子正面“掰手腕”的一年。
02.百亿现款够烧多久?
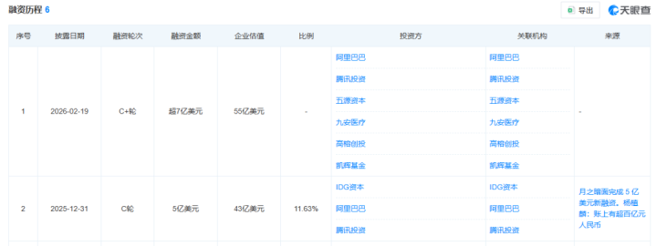
时刻和居品上的种种冲破,正在给月之暗面带来正向的买卖轮回。最近三个月内,月之暗面完成了两轮融资,两轮共计吸金超12亿好意思元。
“天眼查”清楚,2025年12月月之暗面5亿好意思元的C轮融资由阿里、腾讯、IDG老本投资;2月份新一轮超7亿好意思元的C+轮融资由阿里、腾讯、五源老本、九安医疗、高榕创投等长入领投,高榕创投等老鼓吹连续加码,投后估值超100亿好意思元。

图源:天眼查截图
月之暗面100–120 亿好意思元的估值,在国内大模子赛说念已置身第一梯队,但与已上市的智谱、MiniMax超2500亿港元市值仍有显然差距;横向对比大众头部独角兽,约为OpenAI(7300亿好意思元)估值的1/66、Anthropic(3800亿好意思元)估值的1/35。
2024年,杨植麟曾被传出出售月之暗面股权套现数千万好意思金,一度被外界质疑是里面不看好公司发展;而如今跟着K2、K2.5赓续开源,月之暗面又再行成为一级市集的“香饽饽”,此前的质疑也悄无声气。尤其是在最近的两轮融资中,齐有月之暗面的老鼓吹进行逾额认购,响应了早期投资方对技俩的握续押防卫愿。
告成的融资给月之暗面带来了充裕的现款流,这让月之暗面礼聘了一条与智谱、MiniMax迥然相异的老本旅途。昨年12月杨植麟在里面信中默示,公司账上还有100亿元现款,“比较于二级市集,咱们判断还不错从一级市集召募更大齐资金,是以咱们短期不慌张上市,也不以上市为目标。天然异日咱们盘算推算将上市当作妙技来加快AGI。”参照MiniMax与智谱在招股书中的数据,月之暗面的现款还可相沿3-5年的研发进入。

图源:微博截图
月之暗面的中枢营收现时高度依赖开发者API调用和付用度户,这种买卖形式的护城河,执行上是基座大模子的时刻起初性;一朝时刻迭代放缓,开发者便可能会用脚投票,转向性价比更高或智力更强的替代决策。
在月之暗面突飞大进的同期,智谱和Minimax的大模子也在近期交出亮眼答卷。智谱的GLM-5凭借性能上风上调编程套餐订价,依旧供不应求;MiniMax的M2.5最近也登顶 OpenRouter每周/每月排名榜榜首,成为大众首个单周调用量冲破3万亿Tokens的模子。
值得防卫的是,Agent场景同期亦然智谱和Minimax要点对准的地点,GLM-5面向 Agentic Engineering打造;M2.5是大众首个为Agent场景原生联想的坐褥级模子。跟着Open claw爆火,2026年AI竞赛的焦点已从“模子性能”转向“Agent实用化”,当作也曾同属“AI六小龙”的智谱、Minimax和月之暗面,在Agent赛说念上的正面竞争已无可幸免。

图源:小红书截图
接下来,各互联网大厂也将依托本身生态与流量上风快速切入,通过买通办公、末端、云劳动等场景,与Agent OS深度绑定;比较之下,自有生态薄弱的月之暗面,将同期濒临同业紧追与巨头合围的双重压力。
对月之暗面而言,K2.5的爆发仅仅漫长买卖化征程的早先,接下来的握久战,进修的不仅是百亿现款的毁掉遵守,还有在时刻迭代与买卖闭环之间找到均衡点的速率。
上一篇:时时彩app下载 DHL集团与京东签署温雅备忘录, 营救德国品牌在中国及欧洲市集的发展
下一篇:没有了

备案号: